SA-3

SUSPENSION AND AXLE - Wheel Alignment

<<back<<

>>next>>

fa1455.gif (25627 bytes) WHEEL ALIGNMENT

1.  MAKE FOLLOWING CHECKS AND CORRECT ANY PROBLEMS
(a)  Check the tires for wear, size and proper inflation pressure.

Cold tire inflation pressure:

kg/cm2 (psi, kPa)

Engine type Tire size Tire pressure

5S-FE

195/60HR14 (Front) 2.0 (29, 200)
205/60HR14 (Rear) 2.3 (33, 225)

3S-GTE

195/60VR14 (Front) 2.0 (29, 200)
205/60VR14 (Rear) 2.3 (33, 225)

(b)  Check the wheel runout.

(c)  Check the front wheel bearings for looseness.

(d)  Check the front suspension for looseness.

(e)  Check the steering linkage for looseness.

(f)  Check the ball joint for excessive looseness.

(g)  Check that the front shock absorber work properly by using the standard bounce test.

 

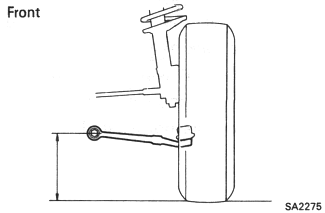
sa2275.gif (9348 bytes) 2.   MEASURE VEHICLE HEIGHT
      Vehicle height:

Front  224 mm (8.82 in.)
Rear   203 mm (7.99 in.)

HINT:

  • Measuring point
    Front - Measure from the ground to the center of the lower suspension arm mounting bolt.
    Rear - Measure from the ground to the center of the body side Rear suspension No.1 mounting bolt.
  • Before inspecting the wheel alignment, adjust the chassis ground clearance to specification.

If the clearance of the vehicle is not standard, try to adjust it by pushing down in the body or by lifting the body. If still not correct, check for bad springs or suspension parts.

d0023.gif (7849 bytes)